天眼查 北京文化被停牌,节后将变ST

文章图片
文章图片
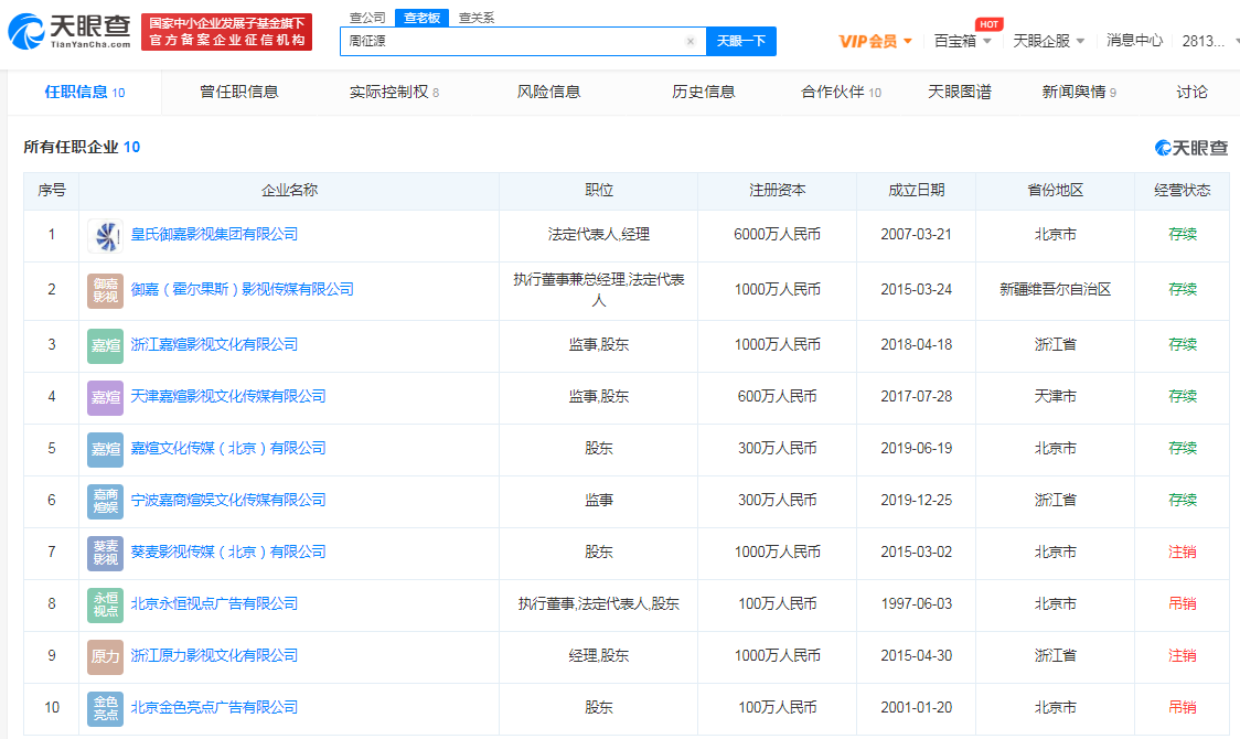
据每日经济新闻报道 , 北京文化4月30日被停牌 , 5月6日开市起复牌 , 股票简称将变更为“ST北文” , 事件导火索或为郑爽“天价片酬”“阴阳合同”风波背后的《倩女幽魂》项目 , 2018年初 , 北京文化全资子公司世纪伙伴的制片人杜月向公司引荐了此项目 , 操盘手是曾为海润影视数部影视剧担任制片人的周征源 。 天眼查App显示 , 北京世纪伙伴文化传媒有限公司目前由北京福义兴达文化发展有限公司100%持股 。 2020年4月 , 该公司发生工商变更 , 原投资人北京京西文化旅游股份有限公司(北京文化)退出 。 值得一提的是 , 目前该公司已有多条限制消费令和终本案件 , 同时还因违反财产报告制度被列为失信被执行人(老赖) 。 报道指出 , 2019年 , 世纪伙伴将《倩女幽魂》的女主演聘用协议全部义务转让给了周征源的天津嘉煊公司 , 转让协议生效后 , 由天津嘉煊按约向女一支付酬金 。 为了让片酬符合标准 , 杜月和周征源作为《倩女幽魂》的核心制片人 , 代表世纪伙伴与郑爽签了77天4800万的演员片酬合同 。 “周征源、杜月两个制片人提出那么高的片酬预算 , 这中间难道不存在一些牟利空间?”原世纪伙伴重要知情人说 。 天眼查App显示 , 天津嘉煊影视文化传媒有限公司成立于2017年 , 周征源持股51%为第一大股东 。 2018年8月 , 该公司申请注册“倩女幽魂”相关商标 , 当前商标状态为“等待实质审查” 。 目前周征源关联公司有多家 , 包括皇氏御嘉影视集团有限公司、御嘉(霍尔果斯)影视传媒有限公司等 。 值得一提的是 , 其中周征源作为法定代表人的皇氏御嘉影视集团有限公司 , 曾于2017年申请注册“你和我的倾城时光”相关商标 , 目前商标状态为“商标已注册” , 该剧主演为赵丽颖、金瀚 。 据媒体报道 , 短短数年 , 频频押中《战狼》系列、《流浪地球》《我不是药神》《你好 , 李焕英》等多部爆款影片的北京文化 , 俨然成了业内首屈一指的热门影片制造机 , 是业内外公认的影视明星公司 。 但自从2020年4月29日被前高管娄晓曦实名举报公司财务造假 , 并晒出自己参与的证据后 , 这一年来 , 北京文化经历了财务造假、高层内斗、核心人物流失、背负巨额债务等一系列事件 , 命运让人唏嘘 。
【天眼查|北京文化被停牌,节后将变ST】
推荐阅读
- 手机 酷派声明将与快手联合清查侵权行为
- 视点·观察 美团员工被曝通过钓鱼邮件获取拼多多薪资信息 检方:侦查阶段,不便透露
- 北京卫视 “618沸腾之夜”收视夺冠,众星云集肖战成为最大惊喜
- 新华网 大连商品交易所5月查处异常交易行为60起
- 射电望远镜 假如中国“天眼”遇上大暴雨,到底会不会被装满,又该如何排水?
- 徐瑞哲 造中国天眼、发超强激光、开采可燃冰,年纪轻轻有没有科研经费、生儿育女压力
- 社交 Twitter开始推出推文内事实核查功能Birdwatch
- 声音 中国天眼:凝望浩渺苍穹 捕捉宇宙声音
- Europe 欧盟将允许消费者游说团体参与其对Apple Music的反垄断调查
- 查杰:眉眼间流淌着的温暖与坚毅 Seek For U 坚毅
