索尼|有钱就能为所欲为!Sony新专利可付费移除指定玩家!

文章图片
文章图片
编辑/Mark 转自wanuxi
线上游戏 , 尤其是竞技类型的游戏最令人感到厌烦的除了是外挂玩家以外 , 就是实力不够好的队友了 。 遇到这种队友 , 有时就是会恨不得想要将他踢出队伍 。 而就在近日 , 有网友发现Sony 的有一项专利刚刚通过申请 , 而这一项专利就是能够让人投票将指定玩家踢出游戏的功能!
【索尼|有钱就能为所欲为!Sony新专利可付费移除指定玩家!】
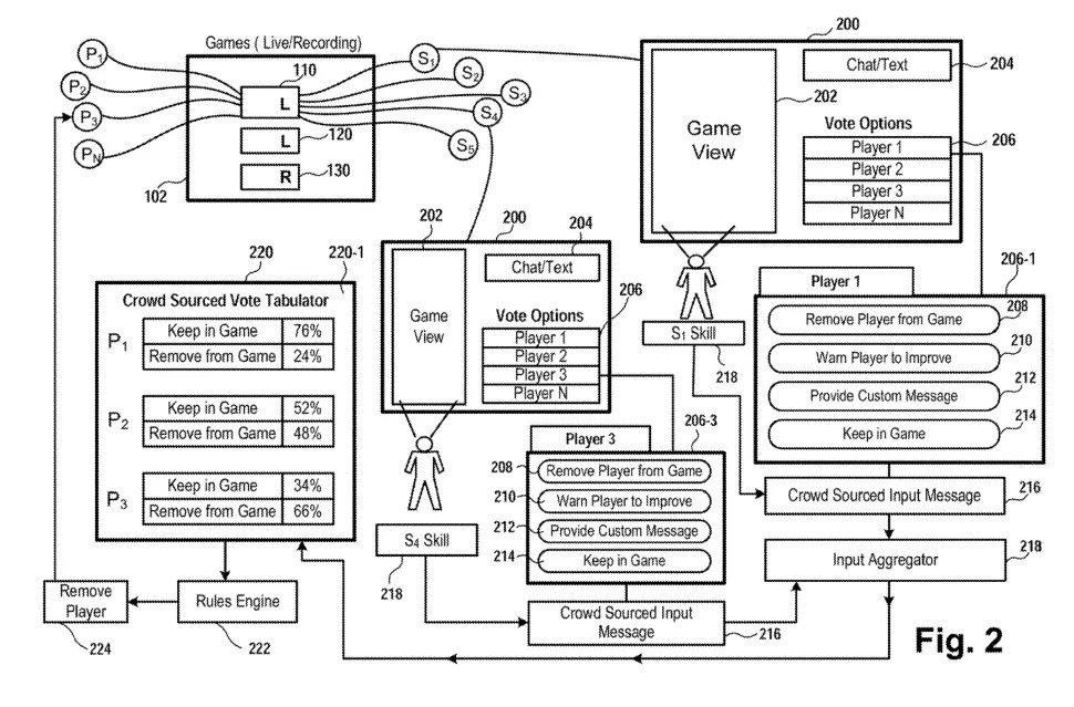
根据外媒VGC的报导 , 这一项专利的标题为「Spectators Vote to Bench Players in a Video Game」 , 简单来说就是让观战者投票来将玩家送到板凳的功能 。
让观战者投票的菜单共有四个选项 , 分别是「将玩家移除出游戏」、「警告玩家并告诉他们需要进步」、「提供客制信息」以及「将玩家保留在游戏里」 。 如果票数达到一定的数量 , 指定玩家就会直接被移除出游戏 , 并会对所有人发出公告、解释为什么那位玩家会被移除 。
而在专利下方 , 还提到了能够让观战者付费来直接移除某个玩家的功能 , 并能够选择「交付固定价钱」、「交付固定价钱的一部分」以及「拍卖喊价」 。 换句话说 , 就是只要观战者有钱就能够直接将玩家踢掉 。
小编个人其实还蛮担心这个功能会被滥用 , 进而影响到其他人的游戏体验 。
Sony Interactive Entertainment
简介:索尼互动娱乐(Sony Interactive Entertainment LLC;简称SIE) , 前称索尼电脑娱乐(Sony Computer Entertainment Inc. , 简称为SCEI或SCE) , 是索尼旗下的游戏机、游戏软件开发、制造与贩售厂商 , 1993年11月16日在日本东京成立 , 1994年起使用现行45度角倾斜正方形图案作为公司标识 。 依地域性划分北美、欧洲、日本、亚洲四大市场 。
2016年4月1日 , 索尼电脑娱乐与索尼网络娱乐(Sony Network Entertainment)合并为“索尼互动娱乐”(Sony Interactive Entertainment) , 总部由日本迁至美国加州圣马特奥(同时也是SIE美国的总部) , 商标沿用SCE的正方形商标 。
成立时间:1993年
总部:美国加利福尼亚州圣马特奥
代表作品:PlayStation , PlayStation 2 , PlayStation 3 , PlayStation 4 , PlayStation Vita , PlayStation 5
资讯来源于网络(侵删)
推荐阅读
- 左慈|三国杀:技能缝接,超强发挥,用左慈就能实现
- 索尼|EDG 夺冠池子发文他们喜欢看跳楼,跳得慢了都急眼,随后注销微博
- 赛博朋克2077|王者荣耀:6种不花钱就能领皮肤碎片的方法!快速兑换心仪皮肤!
- 海盗战|《炉石传说》:新版海盗战来袭!一张核心蓝卡就能上传说!
- 天山|有钱人玩得有多花?天龙怀旧服英招控为宝宝换区起号,还要上7?
- lck|明年没韩援来LPL了?Efeng爆料:LCK战队报价特别高,太有钱了
- edg战队|EDG夺冠,LOL手游迎来新爆发!新手入坑并不难,千元机就能畅玩?
- 梦幻西游手游|梦幻西游手游:开局就能秀对手一脸!快速开罗汉,你真的会吗?
- 云顶之弈|云顶之弈:狙神的真正核心!烬只要装备合适,就能横扫全场!
- 索尼|微索任御三家游戏机回收,上品收即刻变现
