32知协 恶意碰瓷LG,国知局:驳回!

文章图片
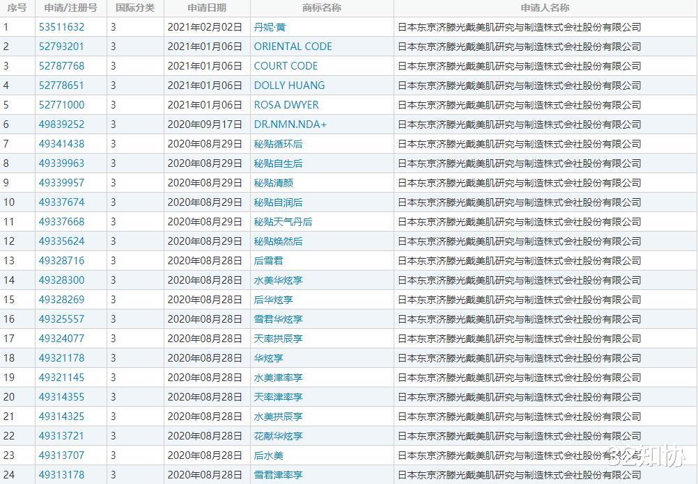
文章图片
日前 , 由北京标邦知识产权代理有限公司代理香港的“日本东京济滕光戴美肌研究与制造株式会社”提交的第49298247号“天率华炫享”等23件商标注册申请日前被商标局驳回 。
查询中国商标网信息显示 , 申请人“日本东京济滕光戴美肌研究与制造株式会社股份有限公司”于2018年3月1日开始申请第一个商标“CEII COSMETOIOGY” , 目前已经获准注册 。 之后于2020年8月28日、8月29日连续申请了23个商标 , 包含“振辰享”“津率享”“天气丹”“后”“天率华炫享”等字样 , 注册类别全部为第3类 。
据悉 , “振辰享”“津率享”“天气丹”“后”等均为株式会社LG生活健康旗下的著名化妆品品牌 。 株式会社LG生活健康是一家总部在韩国的企业 , 查询商标网信息 , LG自2012年3月27日就已在中国申请商标 , 目前申请商标总数达2391个 , 且“Whoo”“津率享”“后秘贴”“拱振享”等商标在2015年至2019年期间均已获准注册 。
《商标法》第四条规定:自然人、法人或者其他组织在生产经营活动中 , 对其商品或者服务需要取得商标专用权的 , 应当向商标局申请商标注册 。 不以使用为目的的恶意商标注册申请 , 应当予以驳回 。 本法有关商品商标的规定 , 适用于服务商标 。
【32知协|恶意碰瓷LG,国知局:驳回!】根据上述商标法 , 申请人“日本东京济滕光戴美肌研究与制造株式会社股份有限公司”申请的“振辰享”“津率享”“天气丹”“后”“天率华炫享”等字样商标违反了《商标法》第四条第一款的规定 , 被商标局驳回 。
推荐阅读
- 白菜 “立志拱大城市的白菜”,衡中学生的演讲并无恶意
- 生猪价格 高铁国产率达97%,另外3%严重依赖进口,还被外资恶意哄抬价格
- 节目组 孟佳遭节目组恶意剪辑,为热度故意制造冲突,不少明星都被坑过
- 野心 “小心被中国击落!”美国开始慌了,对华恶意揣测暴露背后野心
- 媒体播放器 网红被“道德绑架式表白:自称“不知情”,抖音称系恶意炒作永久封号
- Microsoft 微软发出StrRAT恶意软件警告:不要点击不信任的PDF附件
- 安全 安全研究人员发现恶意软件利用一个从未见过的macOS漏洞发动攻击
- 舞台 黄霄云谈网暴泪洒舞台,对一个人的恶意居然可以达到这种程度
- 喜剧人 黄明昊走秀“碰瓷”空气,喜剧人上演“平地假摔”
- 安全 今年一季度黑客利用微软和谷歌等服务发送了5200万条恶意信息
