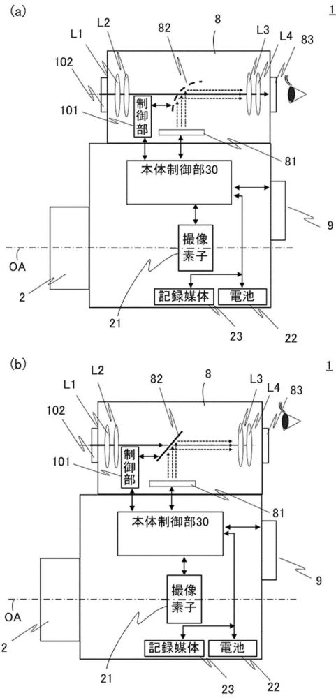
近日 , 日本专利局公开了佳能的一项专利申请 , 专利内容是整合了电子取景器与瞄准器的复合显示装置 , 直接将瞄准器内置于电子取景器中 , 可以方便摄影师高效率的在相机取景器与瞄准器之间进行自由切换 。

文章图片
图1/4

文章图片
图2/4

文章图片
图3/4
【中关村在线|打鸟福音 佳能公布电子取景器内置瞄准器专利】

文章图片
图4/4
对于传统单反相机拍摄鸟类、飞机之类的主体的过程中 , 由于长焦镜头视野较窄 , 主体只要简单移动几下就很容易跑出镜头视野之外 , 大部分摄影是会采用探头肉眼观察+取景器观察相结合 , 甚至有些摄影师会加装瞄准器 , 用其瞄准拍摄目标 , 这样相机镜头就能对上焦 。 这对于喜爱打鸟的摄影师十分有益 。
推荐阅读
- 中关村在线|拍不好靠后期就行了?摄影人最迷茫的五个问题
- 适马|富士相机用户福音:消息称适马即将发布三款 X 卡口镜头
- 中关村在线|蓝牙音箱三星Galaxy Home Mini 2即将发布
- 中关村在线|将搭载骁龙695 红米入门级新机即将发布
- 中关村在线|界面帅爆了!苹果iOS 16系统截图首曝光
- 中关村在线|三星S22、Tab系列配置已完全曝光!发布会又不用看了
- 中关村在线|6000万像素 理光推出全新X全景相机
- 大奖|春节就要放肆嗨!手机端、电视端……游戏党的福音尽在中国移动5G云游戏!
- 中关村在线|影像或与徕卡联合打造 小米最强高端旗舰或命名为MIX 5 Pro
- 中关村在线|DJI Mavic 3发布重要固件 这一次值得更新
