手机|摩托罗拉申请翻盖折叠手机新专利:显示屏外置
IT之家 2 月 7 日消息 , 摩托罗拉是最早推出可折叠智能手机的公司之一 , 但 Moto Razr 及其 5G 版本已经推出近 1 年半时间 , 后续机型仍不知何时问世 。
文章图片
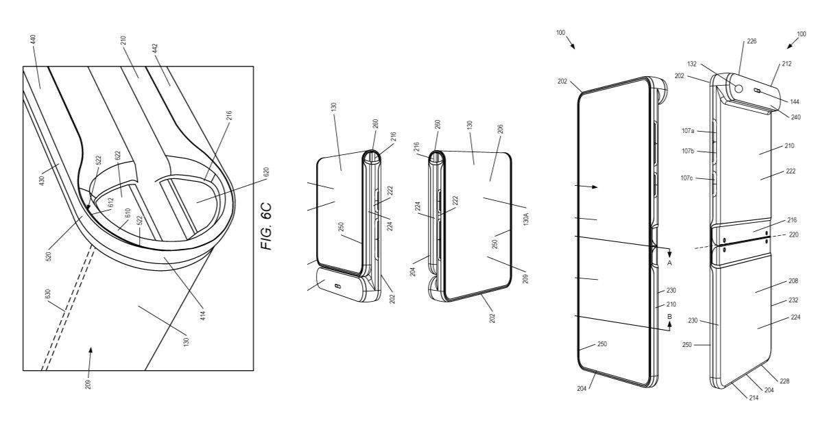
摩托罗拉公司现在获得了 WIPO(世界知识产权组织)授予的另一项可折叠手机的专利 , 专利中的手机高而窄 , 像 Razr 一样 , 但屏幕在外面 , 也就是可折叠显示屏包裹着手机 , 折叠后形成一个双屏幕设备 。
该专利还显示 , 手机顶部留有一个凸起的模块 , 用于放置摄像头 , 铰链将采用一个全新的解决方案 , 会尽量减少折痕 , 并允许手机平齐折叠 , 没有任何缝隙 。
IT之家了解到 , 在 P50 Pocket 去年 12 月发布之后 , 联想集团中国区手机业务部总经理陈劲预告 , 摩托罗拉打造的第三代折叠屏手机即将登场 。 XDA 爆料称摩托罗拉 Razr 3 搭载高通骁龙 8 旗舰处理器 , 最高配备 12GB 内存 , 主屏为挖孔屏形态 , 刷新率为 120Hz 。 爆料称该机也有副屏 , 它和华为 P50 Pocket 一样可以显示通知、来电信息等 。
文章图片
【手机|摩托罗拉申请翻盖折叠手机新专利:显示屏外置】▲ 摩托罗拉第二代折叠屏手机
推荐阅读
- 相关|吉利李书福要造手机,消息称将在武汉、上海等设置办公地
- Motorola|摩托罗拉为外置显示屏的翻盖手机申请专利
- Tesla|特斯拉申请扩建得克萨斯超级工厂 新建电池正极厂房
- 手机|上海微电子:中国首台2.5D/3D先进封装光刻机正式交付客户
- 用户|运营商推互联网注册清理服务 助二手手机号码“断前缘”
- 福利|央视春晚互动网友晒单 在京东1分购小米Redmi K40手机
- 风向|2022年手机风向何处:平湖,惊雷与暗潮
- 手机号|数字人民币全覆盖冬奥场景!碰一碰、扫码付、网络购,便捷实现非接触支付…无银行账户也可申领“钱包”
- 电子|奕东电子:公司生产的FPC已应用于全球前五大手机终端品牌
- 生产|小米计划在阿根廷火地岛生产智能手机
