Apple|苹果变成“水果讼棍”
为了保护自家商标 , 苹果有多拼?过去三年 , 苹果提出过215份商标异议申请 , 如果你对这个数字没有概念 , 可以横向对比下它的同行:215这个数量 , 比谷歌、微软、亚马逊和Meta(原Facebook)四大金刚的相同申请加起来(136起)都多 。
访问:
苹果在线商店(中国)
当然了 , 这也许可以用“苹果太火大家都来贴贴”解释 , 但细看之下 , 不仅很多目标是小公司甚至个人 , 没名气没钱就算了 , 更关键的是 , 是不是真贴都难以确定 。
美国艺人弗兰基·菠萝(Franki Pineapple , 艺名)在2020年的时候收到噩耗——大名鼎鼎的苹果公司居然针对她提起了商标异议 , 因为她的艺名“菠萝(pineapple)”这个词 , 在英文中后缀有个“apple” 。菠萝实在也没有什么名气 , 如今在美国音乐流媒体Spotify上一个月有122个听众 。
“(我的艺名)甚至都不是苹果!”46岁的菠萝在接受纽约时报采访时吐槽道 。
感到无辜的公司和个人还有很多 。比如用了粉色、绿色相间的苹果作为标识的性爱指导博主;名字叫“大苹果咖喱(BigAppleCurry)”的印度菜美食博主;只有5个员工的初创公司 , 其烹饪App的Logo是个绿色的梨子;19世纪就成立、名字里有“Apple”一词的威斯康星州公立学校……
文章图片
苹果给出的原因是:苹果有名 , 其他类似商标会削弱苹果的品牌价值 。或者让人们“混淆” , 以为一些商标申请者和苹果有关、有苹果的背书 。
乍看之下情有可原 , 但远高同行的异议申请数量 , 加上疑似过度泛化边界的目标 , 使得苹果难逃质疑 , 被指“商标霸凌” 。
A
“霸凌”的关键在力量不对等 , 这也是苹果招惹非议的原因 。
商标申请遭到苹果异议的小公司和个人 , 当然可以选择和苹果对抗 , 依照法律程序对簿公堂就好 。但问题就在于 , 双方的财力与资源悬殊 , 先不说打不打得过 , 很多公司与个人干脆选择不战而逃 。
过去三年的215起苹果发起的商标异议申请中 , 有37家实体选择撤回商标申请 , 占比17% , 此外还有超过半数的实体没有回应苹果的诉讼 。
遭到苹果异议的性爱指导博主吉纳维芙·圣约翰(Genevieve St. John)就是其中一个 。她在美国专利商标局申请注册那个绿粉相间的苹果作为商标之后 , 就收到通知 , 苹果对她的商标申请提出异议 。
苹果长达246页的文件中 , 称圣约翰的这个标识“可能会玷污苹果的声誉 , 苹果努力不将自己和色情内容联系在一起 。”
圣约翰已经41岁 , 是亚利桑那州从事人力资源工作 , 她收到苹果的异议后心里虽然不认可 , 但是没有回应诉讼 , 因为自己没有钱请律师和苹果打官司 。
如今 , 她已经把自己的博客停了:“我甚至压根没从这个博客里赚到钱 , 但这是苹果啊!我可没有100万美元去和苹果争高低 。”
美国华盛顿大学法学院的教授克里斯汀·法利(Christine Farley)在接受采访时直接将该行为称为“霸凌战术” 。她认为这对于苹果来说属于可以但没必要的事 。
之后她又在推特上发起讨论:“我在接受纽约时报的时候是说这属于霸凌 , 苹果有大量针对小实体提出的异议 , 而且这些小实体的商标根本就既不让人困惑 , 也不会有“稀释”作用 , (如果不叫霸凌)你们要叫这什么呢?”
“小实体当然会屈服 , 苹果就指望这个呢 。”
据报道 , 苹果在这类事件中似乎有一系列的固定“打法” , 比如提交超级长的“简报” , 再比如要求商标审判和上诉委员会延长申请商标的期限 , 然后自己去联系这个企业或个人 , 让他们去更改一下自己的申请 。
38岁的艺术家莱西·布朗(Lacye Brown)就说 , 他创作了一部巫医苹果博士的漫画 , 在商标申请提交后 , 没有收到来自苹果公司的正式异议 , 但是苹果的律师和他聊了聊 , 虽然他打心眼里觉得不会有人把自己创作的巫师题材的东西和科技公司苹果混淆 , 但还是修改了自己的商标申请范围 。
不屈服的自然有 , 比如那个用了梨子logo的食谱应用 。一篇2020年的报道采访到了该应用的老板娜塔莉·蒙森(natalie monson) , 她在2009年左右就开始了美食博客 , 之后发展出了应用 。
在针对该公司商标申请提出异议的法律文件里 , 苹果称他们的商标(那个绿色的梨子)和自己的标识太像了 , 又是简约的水果 , 又是带有叶子向一边倾斜 , 营造出了类似的商业印象 。还附上了一张对比的图片 。
文章图片
但即便是摆在了一起 , 也难有说服力 , 甚至反而令人感到疑惑 , 如果用知名弹幕句式形容的话就是:只有我觉得一点也不像吗……而娜塔莉的丈夫则说:“我都怀疑这是不是个玩笑 。”
娜塔莉则感到自己是在被苹果“霸凌” , 而自己有“道德义务”进行反击 。她和丈夫创建了请愿书 , 最终有27万人签名 。他们试图用这个方法逼苹果让步 。
在2021年11月 , 这个事件以该应用对Logo稍作修改迎来结局 。在相关文件中 , 那个绿色叶子的一边变成了直线 。
文章图片
娜塔莉夫妇在这场官司中投入了多少金钱不得而知 , 诉讼、在媒体中频繁发声、发起请愿书等 , 付出的精力无疑巨大 , 这些都是大部分小实体难以承受的 。
B
“霸凌”的另一个关键 , 是“蛮不讲理” , 这也是苹果招惹是非的核心争议点 。
拜赐于娜塔莉夫妇在社交媒体发起的“从苹果手里救救梨子”的活动 , 我们得以看到很多人的看法 。
在法律文书里 , 将梨子和苹果摆在一起 , 原本是想阐明自己的观点 , 但是这张对比图 , 却激起了美国网民的愤怒 , 在社交媒体被反复呈现 。
【Apple|苹果变成“水果讼棍”】要么是你苹果瞎了 , 要么是我长了俩出气筒:“老说容易混淆 , 苹果是觉得消费者有多蠢啊?”“苹果你搞搞清楚 , 你叫苹果 , 不叫‘一种水果’!”
而最终以微小的改变结束事件 , 也有找个台阶赶紧下的既视感 , 对最初抗辩的不坚持 , 令苹果抗辩的合理性雪上加霜 。
另一方面 , 有时候其提出异议的目标的性质 , 其种类也比较宽泛 。比如苹果在教育领域的行动也很积极 。
它曾对威斯康星州的阿普尔顿学区的商标申请提出异议 , 阿普尔顿学区的英文名称是Appleton Area School District , 其学校标识是三个成串的苹果;它也曾对一家位于马里兰州的非盈利组织3.14Academy的商标申请提出异议 , 其为自闭症儿童及家庭与社区提供教育培训 , 标识为一个里面有希腊字母Π的苹果 。
文章图片
3.14Academy商标申请中的logo
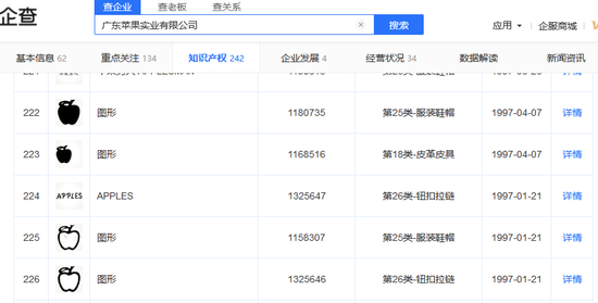
有趣的是 , 苹果作为被提出异议的一方 , 好像心又比别人都宽了 。在中国 , 苹果于2016年申请两个商标“苹果”和“Apple” , 2017年3月就被驳回了 。
这回提出异议的是广东实业有限公司 。这u加公司主要生产皮具、成衣等 , 创立于1992年 , 最早在1997年就注册了“苹果”商标 。
被驳回之后苹果不服 , 提出了复审 , 在复审请求中苹果称二者商标区别明显 , 不存在近似或类似的说法 。因为广东苹果的商标的苹果是完整的 , 而自家的是被咬了一口的……
文章图片
2018年 , 复审请求也被驳回了 。
苹果自然不是真的分不清梨子、橘子、橙子、菠萝和苹果 , 其广泛的商标申请异议 , 主要还是来自于其对商标保护的敏感 。
在遥远的1976年 , 一代帮主乔布斯成立了苹果公司 , 并且为公司logo操碎了心 。第一代苹果商标相当复杂——牛顿坐在树下看书 , 树上悬着一颗眼看就要瓜熟蒂落的小苹果 。
乔帮主不满意 , 又喊来一家公司重新设计 , 于是 , 被咬了一口的苹果Logo出世 , 颜色从彩色变成蓝色又变黑色 , 形状多年未变 。直到如今 , 苹果还在不遗余力地满世界找“相似的”商标 , 逮到一个告一个 。
文章图片
但其实在成立至今的三十余年中 , 苹果不是一直这么“激进” 。2000年之前 , 苹果每年提交的商标异议不多 , 最多的一年也只有8起 。说起来早年间苹果就和菠萝有不解之缘 , 彼时有名为菠萝的公司销售电脑零部件 , 就在苹果为数不多的抗议对象中 。
而且苹果也曾弱小 , 也曾面对更高大的家伙 。
1978年 , 才成立两年的苹果就遭到了大家伙的起诉 , 这个对象是苹果唱片公司(Apple Corps Ltd.) , 其旗下拥有披头士乐队(The Beatles)的全球音乐版权 , 它状告苹果侵权 。
这场纠纷持续了28年 , 可谓旷日持久 , 苹果也从弱小的一方逐渐长成大家伙 , 最终双方在2006年迎来判决、两年后和解 , 苹果保住了自己的商标 。而根据当时英国媒体的报道 , 苹果实际上为此支付了5亿美元的天价 。
如今 , 面对商标“霸凌”的质疑 , 苹果的发言人乔希·罗森斯托克(Josh Rosenstock)表示:“当我们看到某些商标应用过于广泛 , 或者让我们的客户感到困惑的时候 , 我们总是迅速行动 , 力求快速且友好地解决这些问题 。”
不知道是不是因为近年来受到的质疑变多 , 苹果也似乎显示出一定程度的“松动” 。那位月听众只有122名的美国音乐人弗兰基·菠萝标识 , 自己投入了1万美元应对苹果对她商标申请的异议 , 并且已经和苹果达成协议——只要菠萝在商标申请中附上免责申明 , 说明这是艺名而非真名 , 苹果就将不再提出异议 。
不过 , 菠萝也表示 , 自己的第一支单曲 , 灵感就来源于这场诉讼 。而这首歌的名字是一句脏话 , 委婉翻译就是“去他的吧” 。在这首摇滚风格的单曲里 , 菠萝唱:我们不清楚他们的宏伟计划、我们不需要得到他们的允许 。
推荐阅读
- Apple|未来的iPadOS App可能在连接键盘时开始浮动 而非全屏呈现
- 通信技术|全球5G手机销量占比首超50% 苹果独占逾三分之一
- Foxconn|苹果供应商富士康第四季度利润超预期
- Apple|新版macOS终于删掉自带Python2 这波操作连Python死忠粉都叫好
- Apple|消息称立讯精密正为苹果AirPods提供系统级芯片封装服务
- Apple|消息称立讯精密正为苹果AirPods提供系统级封装
- 苹果|新专利显示:苹果在研究让Apple Pencil取代Touch Bar
- Apple|一位法国用户提前收到苹果新款Mac Studio
- Apple|苹果授权服务诊断工具现支持更新第2代AirPods固件
- Apple|苹果最新芯片将助力台积电在新战场领先英特尔
